どんなゲーム機にも使えるコントローラーをソニーが出願 | GameBusiness.jp

どんなゲーム機にも使えるコントローラーをソニーが出願

「どんなコントローラーにも変身するコントローラー」の特許が出願された模様です。複数の海外メディアが報じるところによりますと、ソニーは「ユニバーサル・コントローラー」の特許を出願したとのことです。

その他 その他
「どんなコントローラーにも変身するコントローラー」の特許が出願された模様です。複数の海外メディアが報じるところによりますと、ソニーは「ユニバーサル・コントローラー」の特許を出願したとのことです。
  • 「どんなコントローラーにも変身するコントローラー」の特許が出願された模様です。複数の海外メディアが報じるところによりますと、ソニーは「ユニバーサル・コントローラー」の特許を出願したとのことです。
「どんなコントローラーにも変身するコントローラー」の特許が出願された模様です。複数の海外メディアが報じるところによりますと、ソニーは「ユニバーサル・コントローラー」の特許を出願したとのことです。

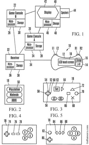
「ユニバーサル・コントローラー」は液晶パネル付きのゲームコントローラー。液晶パネルに様々なゲーム機のボタンやパッドを表示し、これをタッチして操作します。つまり、プレイステーション2であれば「○△□×」ボタンが、ファミコンであれば「A・B」ボタンが表示されるので、これに触れてゲームを楽しむというわけです。

USPTO(米国特許商標庁)には「PlayStation」「NINTENDO」「Xbox」と書かれたモード選択画面と思しき図版が提出されており、「ユニバーサル・コントローラー」が他社のゲーム機を視野に入れていることが分かります。

ソニーは出願書類の中で「ゲーム機どうしが競争している時、家庭で一個以上のコントローラーを見つけることは珍しくない。様々なゲーム機で動くコントローラーがあれば役立つだろう」と解説しています。
《水口真》

この記事の感想は?

  • いいね
  • 大好き
  • 驚いた
  • つまらない
  • かなしい
【注目の記事】[PR]

関連ニュース

特集

人気ニュースランキングや特集をお届け…メルマガ会員はこちら