ホーム
ゲーム開発
ゲームエンジン
ミドルウェア
バーチャルリアリティ
研究開発
その他
市場
マーケティング
プロモーション
調査
海外市場
IP
その他
マネタイズ
広告
その他
企業動向
戦略
業績
発表
リストラ
人材育成
学校
教育
企業内教育
キャリア
産業政策
産業政策
法規制
地方
連載
イベント/セミナー
eスポーツ
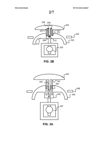
ソニーが「折りたたみ式スティック搭載コントローラー」の特許を申請―携帯性と耐久性に影響か 3枚目の写真・画像
ゲーム開発
研究開発
2022.1.17 Mon 19:30
ホーム
›
ゲーム開発
›
研究開発
›
記事
›
写真・画像
ソニーが「折りたたみ式スティック搭載コントローラー」の特許を申請―携帯性と耐久性に影響か
前の画像
この記事へ戻る
3/3